Description
Rated voltage, kV: 10
The greatest working voltage, kV: 12
Rated current, A: 630, 1250
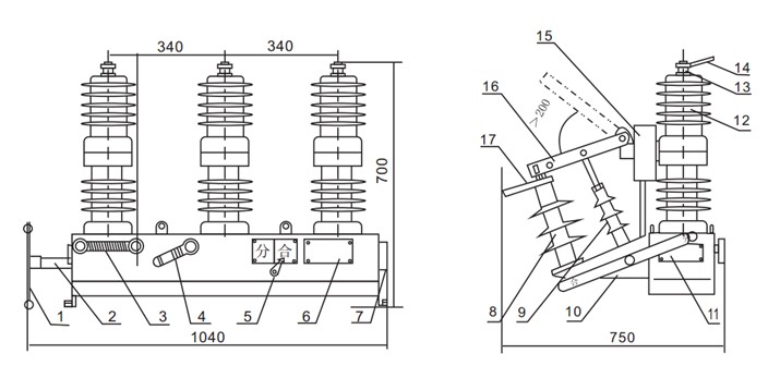
Vacuum circuit breakers MZW32-12G are three-phase high-voltage vacuum circuit breakers for outdoor installation, designed for switching electrical circuits under normal and emergency conditions in three-phase alternating current networks with a frequency of 50 Hz with a rated voltage of up to 10 kV. Execution options: in the painted steel or in the stainless case.
It is used for switching three-phase electrical circuits with a rated voltage of 12 / 13.8 / 15/24 kV, as well as for automatically disconnecting these circuits during short circuits and overloads. It is also widely used as a safety and control device in traction substations, industrial and mining enterprises, in urban and rural distribution networks.
MZW32-12G outdoor high-voltage alternating-current vacuum circuit breaker is produced in line with the following standards and codes:
- IEC 62271-100 High-voltage switchgear and control gear
- GB/T 11022-2011 Common specifications for high-voltage switchgear and control gear standards
- GB 1984 High-voltage alternating-current circuit breakers
- GB 311.1 Insulation co-ordination for high voltage transmission and distribution equipment







